精益求精 誠信至上
以市場為向?qū)?客戶滿意為宗旨
精益求精 誠信至上
以市場為向?qū)?客戶滿意為宗旨


|
Model |
GCT-0.5 |
GCT-1 |
GCT-2 |
GCT-3 |
GCT-5 |
GCT-10 |
|
|
Capacity(T) |
0.5 |
1 |
2 |
3 |
5 |
10 |
|
|
Test load(KN) |
7.35 |
14.71 |
29.42 |
44.13 |
61.29 |
122.58 |
|
|
Min radius of curve(m) |
0.9 |
1 |
1.1 |
1.3 |
1.4 |
1.7 |
|
|
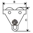
Dimensions (mm) |
A |
264 |
332 |
353 |
371 |
393 |
430 |
|
B |
216 |
260 |
300 |
345 |
390 |
470 |
|
|
C |
195 |
239 |
288 |
336 |
393 |
500 |
|
|
H |
110 |
135 |
161 |
185 |
220 |
280 |
|
|
F |
≈3 |
||||||
|
工-Beam (mm) |
M |
64-152 |
64-203 |
88-203 |
102-203 |
114-203 |
125-203 |
|
Emin |
12 |
10.5 |
9 |
13 |
15 |
23 |
|
|
Net weight(kg) |
8 |
14 |
22 |
39 |
50 |
97 |
|
|
Carton(cm) |
22*8*30 |
25*10*33 |
36*14*28 |
37*37*28 |
45*40*32 |
52*45*40 |
|
上一頁: 已經(jīng)沒有了
下一頁: 手推單軌小車 GCT-C型